当千亿巨头遇上机器人:一段意想不到的”智能联姻”
主角出场
神转折:这次合作居然没有华为?!
赛力斯这次没找熟悉的”华为爸爸”,而是转头牵起了字节跳动的手,让吃瓜群众纷纷掏出瓜子:”这是什么新CP?”
赛力斯早就偷偷摸摸搞了两年机器人研发!从今天起,它终于可以挺直腰板说:”没错,我就是那个要造机器人的车企!”
未来猜想
无论如何,这场跨界合作已经让科技圈和车圈同时炸锅:”这剧情,编剧都不敢这么写!”
赛力斯官宣具身智能,队友是字节火山
当汽车厂遇上火山公司:一场”火花四溅”的技术联姻
赛力斯这次可真是玩出了新花样!他们的”小弟”重庆凤凰技术有限公司(外号:山城科技界的”凤凰传奇”)最近搞了个大新闻。居然和那个名字像要喷发的北京火山引擎科技有限公司手拉手签了个”恋爱协议”!
这份合作协议的三大爆笑看点
一方是浴火重生的”凤凰”,一方是蓄势待发的”火山”——这组合让人忍不住想问:你们研发的是智能机器人还是灭世武器?
造车的和做引擎的要一起研究机器人,这剧情堪比奶茶店老板跨界开健身房——表面毫无关联,细想竟觉得挺合理?
官方说法叫”初步合作协议”,翻译成人话就是:”我们先试着处处看,不合适随时可以分手”
技术圈的浪漫宣言
这份协议说白了就是:”你出算法我出钱,咱们生个机器人宝宝”。据路边社消息,合作内容包括:
这场”凤凰火山”的联手,不知道最后会孵化出怎样的科技混血儿?让我们拭目以待!(或者准备好灭火器?)
重庆凤凰与火山引擎要搞大事情:AI与机器人的”相亲相爱”
这对组合的相处模式堪称技术界的”互补型婚姻”:
双方要联手攻克的技术方向听起来像是科幻片台词:多模态云边协同的智能机器人决策、控制与人机增强技术。
简单翻译就是——
围观群众表示:”一个有钱有技术,一个有厂有场景,这波属于’钞能力’遇上’生产力’了。”
“联姻”启示录:一场科技界的”预恋爱”
所谓”框架性协议”就像科技企业的”表白现场”,基本上等同于:
赛力斯官方表态堪称”渣男式免责声明”标准模板:
“不会对2025年财务业绩造成重大影响”翻译过来就是:“先别急着随份子钱”
具体情况如何,就像当代青年的恋爱进度:
现在谈钱?赛力斯表示:“多俗气啊!我们先培养感情…”

赛力斯为啥跟机器人较上劲了?
赛力斯表示:咱可不是心血来潮,这是在积极响应国家“AI+万物”的伟大号召!既然说要让AI和实体经济热烈拥抱,那我们当然得勇当先锋!(反正不能落后隔壁友商太多……)
赛力斯早就悄悄瞄准了具身智能这门技术,两年前就开始布局了,只不过现在才正式亮牌。谁说车企就不能搞机器人?未来汽车的智能大脑说不定就靠它呢!再说了,提前囤好技术粮草,总比等到被对手按在地上摩擦才想起来抱佛脚强吧?
车企具身智能布局,集体浮出水面
赛力斯的”钢铁侠”梦:从汽车厂到机器人帝国的奇幻漂流
还记得2023年底那会儿吗?
2023年12月的那个冬天,发生了一件改变赛力斯命运的小事:
其实人家早就布好了三条不归路:
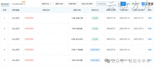
先成立个专门公司,就像电影里反派总要有个表面合法的研究所。
申请个神秘商标,让科技媒体小编们集体熬夜写分析稿。
拉上财政局,完美解释了什么叫”用纳税人的钱造福纳税人”。

车企新贵的神速创业记
重庆凤凰:一家“光速出道”的公司
2024年3月17日,一家名为重庆凤凰的公司横空出世,而它的背后正是新能源汽车界的黑马——赛力斯。这仿佛是一场车企版本的“开公司挑战赛”:
要是所有公司都能有这么高的效率,那创业者们怕是要集体失业:“我这企业规划PPT还没写完,人家已经拿下第二个子公司了。”
不愧是车企界的“新晋卷王”,重庆凤凰这速度,堪比赛力斯新能源汽车的百公里加速——一个字:“快!”
赛力斯的”机器人梦工厂”:招兵买马打造下一个”变形金刚”
从2024年下半年开始,赛力斯似乎悄悄开始了它的”科幻大片”计划——具身智能业务!这可不仅仅是说说而已,人家可是真金白银地在”招兵买马”,准备打造它的”机器人军团”。
招聘启示录:赛力斯在找什么”神奇宝贝”?
目前这些职位仍然挂在赛力斯的招聘官网上,不知道哪天就会被某个”天选之子”抢走。或许再过几年,我们真的能看到赛力斯造出的具身智能机器人上街遛弯?

第三条线:找个大腿抱紧点
其实这条线和第一条线是天生一对,说白了就是——找个靠谱的大叔合作!
战略合作的精髓不就是“你带我飞,我给你干”吗?这条线稳了!
车企的”机器人总动员”:这场面比变形金刚还热闹!
国内车企的”机器人选美大赛”
如今国内车企都陷入了机器人狂热,那场面比超市打折时的鸡蛋货架还热闹:
要么合作,要么自己造,反正绝不能错过这场”谁家机器人更酷”的攀比大会!这场面让人忍不住想喊:”汽车人们,变形出发!”…哦等等,它们好像本来就是车变的?
△广汽GoMate人形机器人
当车企们开始玩「变形金刚」:机器人赛场上的疯狂赛车
从前,车企们卷的是谁的马力更大、谁的座椅更软。现在?他们正在悄悄转型,玩起了「机器人总动员」——只不过这次的主角不是Wall-E,而是各家车企养出来的「数字打工人」。
车企们的机器人梦
奇瑞的「墨甲战士」
奇瑞这次直接携手AI公司Aimoga,推出了墨甲人形机器人墨茵——这个名字听起来就像是古代武士穿越到现代搞AI创业。
更夸张的是:
未来已来,只不过它可能是个会帮你修车的机器人同事,或者……是个整天问你「亲,给个五星好评呗?」的数字销售员。
△奇瑞人形机器人墨茵
车企跨界机器人:这不是一场简单的”变形记”!
为何车企集体爱上”机器人”?
你以为车企们纷纷投身机器人赛道只是因为”大家都在玩”?那可太天真了!车企们早就看准了自己手里的王牌:
现代智能汽车本质上就是个装了轮子的机器人——有传感器、有计算大脑,就差两条腿了。
卖车已经快变成”赔本赚吆喝”的生意,不如提前抢占下一个印钞机——毕竟谁不想成为下一个市值翻12倍的暴发户呢?
赛力斯的”咸鱼翻身”刺激了谁?
还记得当年那个快被市场遗忘的小康股份吗?自从傍上华为这个”科技大款”,它就像中了彩票:
万亿赛道争夺战:机器人版的”饥饿游戏”
在这个被视为未来万亿级的竞技场上,车企们正在上演:
唯一可以确定的是,这场比赛的赢家不仅能造出会走路的机器人,还会让自己的股价”跑”得比机器人快十倍!
“赛老二”驾到!市值PK比亚迪,AI赛道又要上演”速度与激情”
股市风云:从”车”到”赛”的华丽转身
赛力斯默默发力,一不小心就成了国内车企里的”千年老二”,市值仅次于电动车霸主比亚迪。不过这家公司似乎对”老二”这个位置并不满足,最近又开始在AI圈子里刷存在感——据内幕消息(其实就是路边社),他们正准备玩一把「具身智能」的新游戏!
“具身智能”是个啥?
简单说就是:
赛力斯这回的玩法大概是:”既然我们能造车,为什么不直接造个会开车的AI?”——理论上,以后可能连司机都不用雇了,AI直接开着赛力斯的车送货上门!
市场反应:投资人一脸懵
灵魂拷问:重估时刻到没到?
利好因素
风险提示
现在还不好说赛力斯是真的要起飞,还是只是在玩”高科技市值管理”。不过有一点是肯定的:未来的汽车,可能真的要变成”变形金刚”了!

